सुरक्षित फास्टनिङ हेक्सागोनल बोल्ट प्याकेजिङ्ग तिनीहरूलाई व्यवस्थित राख्न र क्षति रोक्न डिजाइन गरिएको हो। यी प्याकेजिङ्ग बक्सहरू नरम अस्तरको साथ आउँछन् जसमा फिट स्लटहरू छन्। बोल्टहरू टाउकोबाट टाउकोमा बस्छन्, त्यसैले प्रत्येक हेक्स बोल्ट राखिन्छ। यसले तिनीहरूलाई छनोट गर्न र राख्न द्रुत बनाउँछ र ढुवानीमा कुनै पनि खरोंचहरू रोक्छ। बल्क यातायातको लागि, हेक्सागोनल बोल्टहरू प्राय: प्रति झोला 500 टुक्राहरू प्याक गरिन्छ। यी झोलाहरू त्यसपछि भित्री बाकसमा राखिन्छन् र भार स्थिर राख्नका लागि काठका केसहरूलाई बलियो बनाइन्छ। महत्वपूर्ण उद्योगहरूको लागि, उच्च-विशिष्ट प्याकेजिङ्ग विकल्पहरूले कडा सैन्य मापदण्डहरू पूरा गर्न सक्छन्। यसमा सिल गरिएको, ग्रीसप्रूफ, र वाटरप्रूफ झोलाहरू समावेश हुन सक्छन् जसले बोल्टहरूलाई भण्डारण र ढुवानीको समयमा जंगबाट जोगाउँछ।
हेक्स बोल्टको ग्रेडले यसको बल देखाउँछ। यी ग्रेड चिन्हहरू सजिलै पहिचानको लागि बोल्टको टाउकोमा छन्। साधारण ISO ग्रेडहरूमा 4.6, 8.8, 10.9, र 12.9 समावेश छन्।ग्रेड 8.8 एक साधारण मध्यम-शक्ति बोल्ट हो, जबकि 10.9 र 12.9 उच्च-शक्ति हो र कार र निर्माण जस्ता माग गर्ने क्षेत्रहरूमा प्रयोग गरिन्छ। A307 र A325 जस्ता ASTM मापदण्डहरूले पनि बोल्ट कार्यसम्पादनलाई परिभाषित गर्दछ। सेक्योर फास्टनिङ हेक्सागोनल बोल्ट छनोट गर्नु सुरक्षाको लागि सही ग्रेड हो, किनकि यसले बोल्टले असफल नभइकन लोड ह्यान्डल गर्न सक्छ भन्ने सुनिश्चित गर्छ।
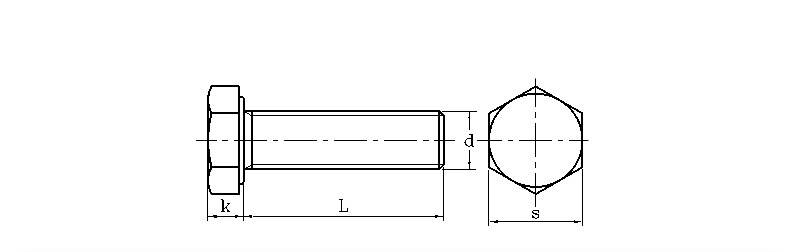
| mm | |||||||
| d | S | k | d | थ्रेड | |||
| अधिकतम | मिनेट | अधिकतम | मिनेट | अधिकतम | मिनेट | ||
| M3 | 5.32 | 5.5 | 1.87 | 2.12 | 2.87 | 2.98 | 0.5 |
| M4 | 6.78 | 7 | 2.67 | 2.92 | 3.83 | 3.98 | 0.7 |
| M5 | 7.78 | 8 | 3.35 | 3.65 | 4.82 | 4.97 | 0.8 |
| M6 | 9.78 | 10 | 3.85 | 4.14 | 5.79 | 5.97 | 1 |
| M8 | 12.73 | 13 | 5.15 | 5.45 | 7.76 | 7.97 | 1.25 |
| M10 | 15.73 | 16 | 6.22 | 6.58 | 9.73 | 9.96 | 1.5 |
| M12 | 17.73 | 18 | 7.32 | 7.68 | 11.7 | 11.96 | 1.75 |
| M14 | 20.67 | 21 | 8.62 | 8.98 | 13.68 | 13.96 | 2 |
| M16 | 23.67 | 24 | 9.82 | 10.18 | 15.68 | 15.96 | 2 |
| M18 | 26.67 | 27 | 11.28 | 11.7 | 17.62 | 17.95 | 2.5 |
| M20 | 29.67 | 30 | 12.28 | 12.71 | 19.62 | 19.95 | 2.5 |
के तपाइँ तपाइँको सुरक्षित फास्टनिंग हेक्सागोनल बोल्टको लागि सामग्री मेकअप र जंग सुरक्षा विकल्पहरू व्याख्या गर्न सक्नुहुन्छ?
हामी हाम्रो हेक्स बोल्टहरू कम-कार्बन स्टील, बलियो मिश्र धातु इस्पात, र स्टेनलेस स्टील (A2-304 र A4-316) जस्ता विभिन्न सामग्रीहरूमा उत्पादन गर्छौं। खिया विरुद्ध सुरक्षाको लागि, हामी इलेक्ट्रो-गैल्भेनाइज्ड जस्ता, हट-डिप ग्याल्भेनाइजिंग, र डैक्रोमेट जस्ता कोटिंगहरू प्रस्ताव गर्छौं। बोल्ट कति लामो समयसम्म रहन्छ, विशेष गरी निर्माण स्थलहरू वा समुद्र नजिकै जस्ता कठिन ठाउँहरूमा सही कोटिंग छनौट गर्नु महत्त्वपूर्ण छ।
