जब तपाइँ लागत प्रभावकारी स्प्लिट पिन पाउनुहुन्छ, यो गुणस्तर प्रमाणपत्रको साथ आउन सक्छ। यो मूलतः एक कागजी कार्य हो जसले भन्छ कि विभाजन पिन जाँच गरिएको छ र निश्चित मापदण्डहरू पूरा गर्दछ।
सर्टिफिकेटले स्प्लिट पिन बारे विवरणहरू सूचीबद्ध गर्दछ - कसले यसलाई बनायो, यो के बनाइएको हो, यसको आकार, र यो कुन ब्याचबाट आएको हो। यसले देखाउँछ कि स्प्लिट पिनलाई बल, साइज सटीकता, र यो नतोडेकन राम्रोसँग झुकिएको छ कि छैन जस्ता चीजहरूको लागि परीक्षण गरिएको थियो। तिनीहरूले सतह उपचार, जस्ता प्लेटिङ जस्तै, सही तरिकाले गरिएको छ कि जाँच गर्नुहोस्।
प्रमाणपत्रमा परीक्षण गर्ने निरीक्षकहरूद्वारा हस्ताक्षर र छाप लगाइएको छ। यो कागजी कार्य व्यवसायहरूका लागि उपयोगी छ जसले आफ्नो स्प्लिट पिनले विशेष आवश्यकताहरू पूरा गरेको प्रमाणित गर्न आवश्यक छ, विशेष गरी अटोमोटिभ वा निर्माण जस्ता उद्योगहरूमा जहाँ गुणस्तर ट्र्याकिङ महत्त्वपूर्ण छ। यो मूलतया तपाइँको आश्वासन हो कि तपाइँ यसलाई प्राप्त गर्नु अघि विभाजित पिन ठीकसँग जाँच गरिएको छ।
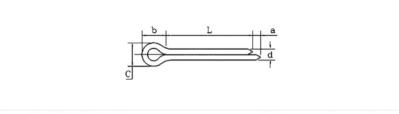
| d | 0.6 | 0.8 | 1 | 1.2 | 1.5 | 2 | 2.5 | 3.2 | 4 | 5 | 6.3 | 8 | 10 | 13 | 16 | 20 | |
| d | अधिकतम | 0.5 | 0.7 | 0.9 | 1 | 1.4 | 1.8 | 2.3 | 2.9 | 3.7 | 4.6 | 5.9 | 7.5 | 9.5 | 12.4 | 15.4 | 19.3 |
| मिनेट | 0.4 | 0.6 | 0.8 | 0.9 | 1.3 | 1.7 | 2.1 | 2.7 | 3.5 | 4.4 | 5.7 | 7.3 | 9.3 | 12.1 | 15.1 | 19 | |
| a | अधिकतम | 1.6 | 1.6 | 1.6 | 2.5 | 2.5 | 2.5 | 2.5 | 3.2 | 4 | 4 | 4 | 4 | 6.3 | 6.3 | 6.3 | 6.3 |
| मिनेट | 0.8 | 0.8 | 0.8 | 1.25 | 1.25 | 1.25 | 1.25 | 1.6 | 2 | 2 | 2 | 2 | 3.15 | 3.15 | 3.15 | 3.15 | |
| b≈ | 2 | 2.4 | 3 | 3 | 3.2 | 4 | 5 | 6.4 | 8 | 10 | 12.6 | 16 | 20 | 26 | 32 | 40 | |
| C | अधिकतम | 1 | 1.4 | 1.8 | 2 | 2.8 | 3.6 | 4.6 | 5.8 | 7.4 | 9.2 | 11.8 | 15 | 19 | 24.8 | 30.8 | 38.5 |
| मिनेट | 0.9 | 1.2 | 1.6 | 1.7 | 2.4 | 3.2 | 4 | 5.1 | 6.5 | 8 | 10.3 | 13.1 | 16.6 | 21.7 | 27 | 33.8 | |
लागत प्रभावकारी स्प्लिट पिन मुख्यतया मेशिन, कार, र उपकरणहरूमा भागहरू ढिलो हुनबाट जोगाउन प्रयोग गरिन्छ। यसको काम बोल्ट, शाफ्ट, वा अन्य पिनहरूलाई कम्पनका कारण बाहिर निस्कनबाट रोक्नु हो। उदाहरणका लागि, कारमा, तपाईंले प्रायः चीजहरू सुरक्षित राख्न मद्दतको लागि व्हील हब वा निलम्बनमा विभाजित पिन फेला पार्नुहुनेछ।
फ्याक्ट्री मेसिनहरूमा, सबै चीजहरू पङ्क्तिबद्ध राख्नको लागि टुक्रा वा घुम्ती जोडहरूमा स्प्लिट पिन प्रयोग गर्न सकिन्छ। डुङ्गाहरूमा, यसले क्लीट्स जस्तै हार्डवेयर राख्न सक्छ। दैनिक प्रयोगको लागि, तपाईंले ल्यानमोवर ब्लेड वा साइकल पेडल सुरक्षित गर्न स्प्लिट पिन प्रयोग गर्न सक्नुहुन्छ। तपाईंले केवल स्प्लिट पिनलाई एउटा प्वालबाट धकेल्नुहोस् र दुईवटा प्वालहरूलाई अलग गर्नुहोस् - यो जडान बनाउनको लागि एक सरल तरिका हो जुन सुरक्षित रूपमा राखिएको छ तर आवश्यक पर्दा हटाउन सकिन्छ।
प्रश्न: के तपाइँ तपाइँको लागत प्रभावी विभाजन पिन को लागी एक प्रमाणपत्र प्रदान गर्न सक्नुहुन्छ?
उत्तर: हो, हामी तपाईंलाई पिनको लागि सामग्री प्रमाणीकरण दिन सक्छौं। यसले हामी ISO 1234 जस्ता मापदण्डहरू पूरा गर्छौं भनेर देखाउँछ। यसले हामीले सहमति जनाएका मेकानिकल र आयामी चश्माहरूसँग तपाईंले प्राप्त गर्ने स्प्लिट पिनहरू जाँच गर्नुहोस्।
